产品分类
联系我们
上海特都阀门制造有限公司
销售电话:4000600587
图文传真:021-60171500
邮箱:2062294015@qq.com
公司地址:上海市奉贤区环城西路3111弄555号
| 产品名称:平行式双闸板闸阀 |
 |
一、产品平行式双闸板闸阀的详细资料:
产品名称:平行式双闸板闸阀
产品特点:Z44T/W-10型平行式双闸板闸阀,平行式双闸板闸阀,双闸板闸阀本阀广泛适用于石油、化工、制药、电力等行业.在公称压力≤l,0MPa的蒸汽、水、油类等介质的管路上,作启闭用。
二、性能规范:
|
型号
|
公称压力(MPa)
|
试验压力(MPa)
|
工作温度(℃)
|
适用介质
|
|
强度(水)
|
密封(水)
|
|
Z44T-10
|
1.0
|
1.5
|
1.1
|
≤120
|
蒸汽、水
|
|
Z44W-10
|
≤100
|
油品、煤气
|
三、主要零件材料:
|
零件名称
|
材料
|
|
Z44T-110
|
Z44W-10
|
|
阀体、阀盖、阀轮
|
灰铸铁
|
灰铸铁
|
|
阀板
|
灰铸铁+黄钢
|
灰铸铁
|
|
阀杆
|
碳钢
|
碳钢
|
|
丁楔
|
铸钢
|
铸钢
|
|
阀杆螺母
|
青钢
|
青钢
|
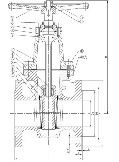
四、平行式双闸板闸阀外形尺寸和连接尺寸:
|
型号
|
公称通径DN(mm)
|
尺寸
|
重量(kg)
|
|
L
|
D
|
D1
|
D2
|
b-f
|
Z-Φd
|
H
|
Do
|
|
Z44T-10
Z44W-10
Z44H-10
Z44F-10
|
40
|
165
|
145
|
145
|
85
|
18-3
|
4-18
|
240
|
135
|
16.5
|
|
50
|
180
|
160
|
160
|
100
|
20-3
|
4-18
|
260
|
180
|
20
|
|
65
|
195
|
180
|
180
|
120
|
20-3
|
4-18
|
300
|
180
|
25.5
|
|
80
|
210
|
195
|
195
|
135
|
22-3
|
4-18
|
345
|
200
|
31
|
|
100
|
230
|
215
|
215
|
155
|
22-3
|
8-18
|
395
|
200
|
47
|
|
125
|
255
|
245
|
245
|
185
|
24-3
|
8-18
|
478
|
240
|
64
|
|
150
|
280
|
280
|
280
|
210
|
24-3
|
8-23
|
558
|
240
|
100
|
|
200
|
330
|
335
|
335
|
265
|
26-3
|
8-23
|
720
|
320
|
144
|
|
250
|
380
|
390
|
390
|
320
|
28-3
|
12-23
|
845
|
320
|
-
|
|
300
|
420
|
440
|
440
|
368
|
28-4
|
12-23
|
990
|
400
|
-
|
|
350
|
450
|
500
|
500
|
428
|
30-3
|
16-23
|
1100
|
400
|
-
|
|
400
|
480
|
565
|
565
|
482
|
32-3
|
16-25
|
1200
|
500
|
-
|
|
450
|
510
|
615
|
615
|
532
|
32-3
|
20-25
|
1300
|
500
|
-
|
|
500
|
540
|
670
|
670
|
585
|
34-3
|
20-25
|
1500
|
500
|
-
|
订货须知:
一、①平行式双闸板闸阀产品名称与型号②平行式双闸板闸阀口径③平行式双闸板闸阀是否带附件以便我们的为您正确选型。
二、若已经由设计单位选定公司的平行式双闸板闸阀型号,请按平行式双闸板闸阀型号直接向我司销售部订购。
三、当使用的场合非常重要或环境比较复杂时,请您尽量提供设计图纸和详细参数,由我们的专家为您审核把关。
感谢您访问我们的网站,如有任何疑问.您可以致电给我们,我们一定会尽心尽力为您提供优质的服务。
|